近日,小霸王文化发展有限公司(下称“小霸王”)被申请破产重整。同时,公司法定代表人已有数十条限制消费令,公司还被列为失信被执行人。
小霸王品牌于1987年始建于广东中山,主要从事教育类电子产品行业。二十世纪九十年代,小霸王学习机、游戏机产品曾一度风靡全国。二十一世纪以来,在经历了滑坡、转型、寻求上市之后,2018年,小霸王宣布正式重新回归游戏机市场。
然而,重新回归后,小霸王的游戏机业务发展并不顺利。2019年以来,公司陷入团队项目解散、欠薪等风波。与此同时,其背后的益华百货也被曝陷入资金链危机。
小霸王被申请破产重整,法定代表人收数十条限制消费令
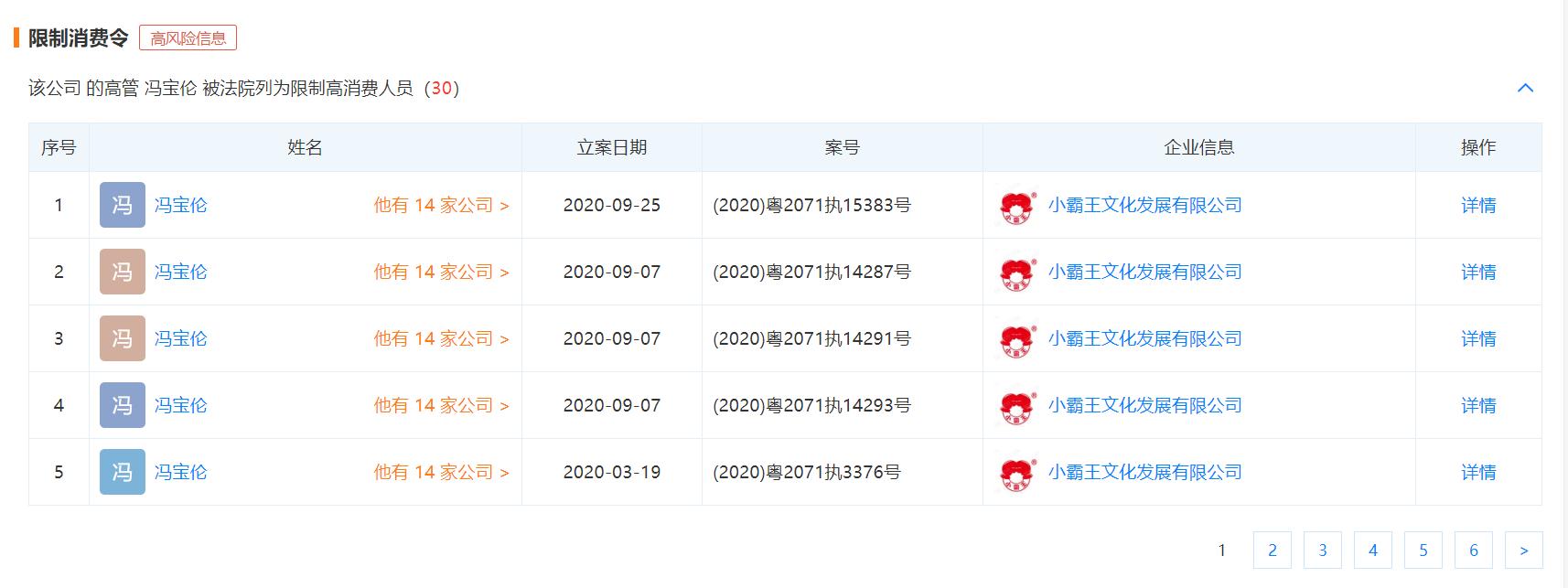
天眼查显示,近日,小霸王文化发展有限公司被申请破产重整,案号为(2020)粤20破申131号,申请人为殷小云。经办法院为广东省中山市中级人民法院,公开日期是11月5日。同时,公司法定代表人冯宝伦已有30条限制消费令。此外,11月6日,小霸王文化发展有限公司被中山市第一人民法院两次列为被执行人,执行标的超23万。

目前,小霸王文化发展有限公司还被列为失信被执行人,即“老赖”。失信被执行人行为具体情形是“有履行能力而拒不履行生效法律文书确定义务”。小霸王需要履行的义务是:公司董事长方鸿祺向申请执行人返还股权转让款749.1万元及违约金285.6万元;方鸿祺向申请执行人支付律师费8万元、担保费8000元;案件受理费9.4万元、诉讼保全费5000元等。以上暂合计为1053.4万元。

小霸王文化发展有限公司是一家儿童早教机研发商,主要产品包括红白游戏机、儿童早教机、儿童平板电脑、VR教育影音一体机等。公司成立于2015年7月,注册资本1亿人民币,中山市威信置业有限公司、广东益华百货有限公司、陈士国为该公司三位股东。
“小霸王”曾由影星成龙代言。二十世纪九十年代,小霸王学习机、游戏机产品曾一度风靡全国。公开资料显示,小霸王品牌始建于1987年,由现任步步高集团董事长段永平创立。1993年和1994 年,小霸王相继推出第一代和第二代电脑学习机,其中“望子成龙小霸王”也成了耳熟能详广告词。此后,1994年到2000年之间,“小霸王”迎来高速发展,到1999年,“小霸王”学习机的累计销量达到2000万。其中,1994年,“小霸王”学习机市场占有率一度逼近80%。
1995年,段永平与团队骨干出走,引发人事动荡。与此同时,政策风向也给小霸王带来一定打击。2000年6月,国务院办公厅发布的意见提出,为了防止青少年沉迷游戏,停止一切关于游戏机的生产、销售、经营活动。此后,小霸王走向下坡路。
曾启动上市大会,拟打造市值超500亿游戏产业新霸主
2004年以来,小霸王多次寻求转型,并将业务触角伸向VR领域。
官网资料显示,2004年,中山市小霸王教育电子有限公司,中山市小霸王卫厨电器有限公司等十大子公司相继成立,从此小霸王品牌正式进驻了电子教育产品和小家电产品领域。此后,小霸王经历三年,推出了集合“学习、运动、娱乐”为一体的第三代电脑学习机并自主研发了安卓主机游戏100多款。
2014年,游戏机禁令开始放松。国务院办公厅发布通知,调整上海自贸区内相关规定。其中规定,允许外资企业从事游戏游艺设备的生产和销售,通过内容审查的游戏游艺设备可面向国内市场销售。同年,小霸王也推出了5代体感游戏机。据小霸王官网介绍,“阿里巴巴相关资料显示全网销售冠军,超过微软、索尼的总量。”

2016年,小霸王曾启动上市计划。当年3月,小霸王重新整合了小霸王旗下的所有品牌和有关资产,成立小霸王文化产业科技集团,专注于VR业务。新组建的小霸王集团由香港益华控股集团主席陈健仁担任集团董事局主席,主导上市工作。8月,小霸王文化产业科技集团在中山当地一家五星酒店举行上市启动大会。

据介绍,这次大会的原始股属小霸王上市前的首轮增发,形式分股权认购、现场订货股权赠送两种。“3年上市后保守估计升值6-8倍,就是60-80万,算下来基本上就是您定多少货,我们送多少钱了。”小霸王集团副总裁戚海生在会上介绍。
同年年底,在“新小霸王人年会及颁奖晚会”上,全国600多“新小霸王人”庆贺上市启动后第一年财务指标完成及商议2017年度的工作计划。相关文章指出,小霸王的战略目标是“打造未来市值超500亿的游戏产业新霸主,强势登入上交所主板市场。”
2018年4月4日,小霸王宣布正式重新回归游戏机市场,并称将尊重游戏版权作为自己的发展战略,更加重视玩家体验的游戏主机和平台,并推进发展正版游戏、高端游戏机的规划。
曾被曝游戏项目团队解散,背后百货公司陷拖欠货款传闻
但小霸王游戏机业务发展并不顺利。宣布回归并进军游戏主机行业已过去一年,小霸王公司被曝出解散了上海的游戏项目团队的消息。
2019年5月,有消息称,由于投资方对项目进展悲观,小霸王游戏机项目团队已解散,负责该项目的小霸王上海分公司也已遣散。彼时,小霸王领先科技有限公司CEO吴松曾向南都记者表示,“无法做任何评论,过一段时间将会向外界告知具体信息。”与此同时,距离正式的硬件“小霸王”Z+ 发布会已超过 9 个月,其游戏主机的量产版依然没有上线发货。
除了解散传闻之外,2019年以来,小霸王游戏机项目还伴随着拖欠供应商货款、服务费等风波。此外,天眼查显示,自2019年起,小霸王文化已牵涉多达98起司法案件,其中,涉及多起股权投资款的纠纷。

今年1月,小霸王主要投资方益华百货的老板陈健仁卸任小霸王文化董事长,冯宝伦接任。如今,益华百货也被曝陷入财务危机。天眼查显示,10月21日至今,该公司被中山市第一人民法院4次列为被执行人,执行标的共超950万。另据媒体9月报道,多位益华百货员工、入驻商户透露,益华百货多家门店出现了大范围拖欠入驻商户货款的情况。
天眼查显示,益华百货控股有限公司成立于1995年5月21日,总部设在广东省中山市,2013年12月于香港联交所主板上市(02213.HK)。除中山总部外,益华百货另拥有古镇、太阳城、清远、英德、江门、韶关、泰安、镇江等多家分场及物流配送中心。
南都记者注意到,不久前的8月1日,网传“益华百货申请破产保护,各位如有益华的消费券请尽快消费。100多个商家已登记追讨商场拖欠的货款”。对此,益华百货官方微信发布“官方通报”称该网传消息系“谣言”。
