
百度搜索和新产品「简单搜索」再遭质疑
在百度上搜索「iPhone 8 屏幕坏了」等手机维修的关键词时,第一条搜索结果均是「山寨」售后网站,其不仅仿照苹果官网风格设计,客服还称自己是「直属售后网点」、「苹果维修中心」。百度回应称,会考虑将这个建议反馈给搜索策略部门研讨。
日前,百度发布新的搜索品牌「简单搜索」,称搜索结果没有广告,且可以屏蔽第三方广告。但昨天,有网友发现用该搜索软件搜索「偏头痛」时,仍出现一条医院推荐信息。对此,百度回应称,「该条目是自然搜索结果,百度并没有进行干预推广」,并承诺简单搜索 App 搜索结果页保证永无广告。(来源:华夏经纬、法制晚报)
苏宁易购:已完成出售阿里股票,出售价约 15 亿美元
昨日晚间,苏宁易购发布公告陈,已经通过纽交所完成出售所持有的阿里股票,出售价款合计约 15.04 亿美金,扣除初始购股本金以及股份发行有关成本及相关直接费用后,预计可实现净利润约人民币 56.01 亿元。
苏宁易购称,阿里巴巴集团是公司最重要的战略合作伙伴,持有公司 19.99% 的股份,公司将结合自身资源,持续加深与阿里巴巴集团在联合采购、天猫旗舰店运营、物流服务、O2O 融合等领域的战略合作,持续提升双方的合作价值和市场竞争力。(来源:TechWeb)
传 TOPIC 基金或因差评被叫停,腾讯:不属实
5 月 30 日上午消息,今日有自媒体传出腾讯因质疑对差评的投资案,可能叫停腾讯兴趣内容基金(TOPIC)的消息。对此,腾讯方面向新浪科技表示,目前没有叫停的消息。
长庚小报今日爆料称,因投资差评事件,TOPIC 受到腾讯董事局主席马化腾关注,内部正重新审查、评估是否有必要设立这支基金。据爆料,TOPIC 可能面临内部关闭的命运,目前已经发出的投资意向书也全部撤回。(来源:新浪科技)

微软市值 3 年来首次超过谷歌母公司 Alphabet
据美国财经网站 CNBC 报道,当谷歌(GOOGL)在六年前首次超过微软(MSFT)时,看起来两家公司将要朝着截然不同的方向发展。但在过去的 12 个月里,微软的股价飙升了 40%,是谷歌母公司 Alphabet 涨幅的逾 5 倍,并且市值实现反超。截至周二收盘,微软市值为 7530 亿美元,Alphabet 的市值为 7390 亿美元。
微软最近的一次上涨是由于其云计算业务的增长,该业务比谷歌的规模要大,但其它仍落后于亚马逊网络服务(AWS)。(来源:腾讯证券)
腾讯开发出数字虚拟人 Siren

腾讯官方宣布,腾讯互娱事业群的 NEXT Studio 与 Epic Games、Cubic Motion 和 3Lateral 等公司联合团队开发出了数字虚拟人 Siren。数字虚拟人可以基于任何人的样子进行扫描,而驱动这一数字虚拟人的表情和动作的,可以是其他人。据悉,这项成果代表了目前实时渲染技术的业界顶尖水平。(来源:36Kr)
苹果公布 HomePod 第二批上市国家,中国市场依然无缘
今年 2 月 9 日,HomePod 在美国、英国和澳大利亚全球首发时,苹果就曾对 HomePod 第二批上市国家有过预告。不过截止目前,苹果还未公布 HomePod 的具体入华时间表,我们也无从得知库克打算何时将旗下的第一款智能音箱产品带入中国市场。
根据市场分析机构 Strategy Analytics 的最新报告,苹果 HomePod 在 2018 一季度的出货量约为 60 万台,占全球智能音箱市场份额约为 6%。(来源:数字尾巴)
BM 称 EOS 漏洞被刻意夸大,360 报告是在引起市场恐慌
昨日 EOS 创始人 BM(Daniel Larimer)在 EOS 开发者电报群中表示,bug 在被公布前就已修复,中国方面的报告是 FUD(Fear、Uncertainty、Doubt)。bug 的问题被过度夸大,而且他们无法获取访问。未来任何挑起 FUD 的 bug 报告者将会被取消奖励资格。BM 表示,目前他们正在设置一个安全的 bug 报告程序。(来源:品途商业评论)
优信提交赴美 IPO 申请,或成中国二手车电商第一股
5 月 30 日,优信正式向美国纳斯达克交易所(NASDAQ)提交招股说明书;股票代码为「UXIN」,拟最多筹集 5 亿美元。据悉,优信本次上市募资,将主要用于进一步提升交易服务能力、技术研发及适时开展合作、投资、并购等产业链整合。
据招股书,优信 2017 年总营收为 19.51 亿元人民币(约合 2.99 亿美元),与 2016 年相比增长 136.7%。(来源:澎湃新闻)

2018 互联网女皇报告:中国正在成为全球互联网的中心
北京时间 5 月 31 日凌晨,有「互联网女皇」之称的玛丽·米克尔发布了 2018 年的互联网趋势报告,这也是她第 23 年公布互联网报告。

报告称,2017 年中国移动互联网用户数达到 7.53 亿,同比增长 8%。2017 年中国移动互联网数据量同比增长 162%。2018 年 3 月,中国网民在移动端花费的时间是 32 亿小时,其中社交媒体占据了 47% 的时间。全球 20 大科技公司中,中国公司占据了 9 席,五年前仅有两家。(来源:腾讯科技)
科大讯飞:与华为全面战略合作,共同做强人工智能产业生态
据悉,科大讯飞与华为在深圳签署了战略合作协议,未来双方将在公有云服务、ICT 基础设施产品、智能终端、以及办公 IT 四大领域开展深度战略合作。科大讯飞与华为优势互补,将利用 AI 语音技术增强产品和服务体验;同时,将面向未来开发创新 AI 语音应用,并拓展新的行业市场,做大规模共享收益,共同做强人工智能产业生态。(证券时报)
Uber 上线应用内报警功能:全程无需说话
在经历一系列司机骚扰乘客事件后,Uber 正在美国地区上线一个新的安全功能,即当乘客遇到危险时能通过应用内的按钮直接与警方联系。该功能已于本周二在部分地区上线。Uber 表示,该应用将在用户点击「呼叫 911」按钮后自动将该用户的姓名、确切地址、乘坐的车型、车身颜色、和车牌号码等信息发送给警方,全程无需说话。(来源:新浪科技)
美团打车:新增线下验车、人脸识别及临检三大机制
为核查注册车辆和驾驶员是否与实际相符,近日,美团打车在上海全面推行线下验车美团打车表示,所有新入网的车辆和驾驶员,在线上完成三证(行驶证、驾驶证、身份证)及人车合影、人证合影的审核之后,还需要驾驶员驾车前往线下验车服务点,由专人按标准流程进行人车合影、行驶证与车辆信息对比、三证合一等审核。(来源:网易科技)
京东无人餐厅 8 月面世,盒马高层朋友圈质疑其抄袭概念做实物
近日在 618 JD Cube 大会上,京东 X 事业部总裁肖军透露,今年 8 月京东 JOY’S 智慧餐厅将推出,点菜、做菜、传菜全部实现无人化。盒马项目负责人闻先在朋友圈发声质疑京东 JOY’S 智慧餐厅概念与盒马的「无人餐厅」相似。他表示,「见过抄别人概念做出实物的,也见过抄别人实物换个马甲再做点优化的。」(来源:亿邦动力)
Win10 吸引力不足:macOS / iOS 在企业用户中份额双升
据 Duo Security 发布的数据报告,以 1100 万企业客户为样本做的统计显示,Windows 平台的影响力正在削弱,今年的市场份额下滑到了 65%,而 macOS 则悄然增长,达到 30%。尽管 Win10 是在逐步取代 Win7 并赢得企业用户的芳心,但是从总数据上来看,视窗系统的整体生态是呈现颓势的。
另外有趣的是,这些企业生产力设备中,居然还有高达 12% 的纯 iOS 产品,主要是 iPad Pro,其份额也是同比增长的。(来源:驱动之家)

小米 531 新品发布会:小米 8 是重头戏,小米手环 3 网友曝光
5 月 31 日,小米将在深圳大运中心体育馆举办新品发布会。本次发布会也将成为小米史上发布新品最多的一次盛会,因此这场发布会在一定程度上关系着整个小米公司的未来走向。
目前已知的新品有小米 8、小米手环 3、MIUI 10、小米 VR 设备等。(来源:驱动之家)

微博网友曝光了小米手环 3 的诸多海报信息:50 米防水、0.78 英寸 OLED 可触摸显示屏、抬腕亮屏、超 20 天的超强续航......售价 169 元。
高通正式发布 VR/AR 专用芯片 XR1:支持 4K 60fps 视频
据 Techcrunch 报道,高通公司今天宣布,公司已经开发出了沉浸式媒体设备专用芯片骁龙 XR1。XR1 是高通首款专门用于虚拟现实(VR)和增强现实(AR)设备的芯片。用户将能够在 XR1 驱动的设备上享受 4K 60fps 视频播放等体验。
高通还宣布了众多 VR 和 AR 头戴设备制造商合作伙伴,包括 HTC、智能眼镜公司 Vuzix、Meta 以及小鸟看看(Pico)。(来源:TechWeb)
HUAWEI WATCH 2 2018 版正式开售:支持 eSIM 一号双终端
昨天,HUAWEI WATCH 2 2018 版正式开售,配色为碳晶黑,售价 1988 元。它也是业内首例既支持「一号双终端」(手机手表同号),也支持开通 eSIM 独立号码(手机手表不同号)的智能手表。

目前支持 eSIM 一号双终端的城市有上海、深圳、广州、天津、郑州、长沙和武汉。(来源:驱动之家)
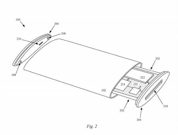
苹果新手机设计方向:采用包裹式触控屏,取消全部实体按钮
据美国科技新闻网站 AppleInsider 报道,5 月 29 日,美国专利商标局公布了苹果申请的一个专利,专利文件显示,苹果未来可能在手机中采用包裹式触控屏,并将利用触控按钮取代目前的实体按钮。

苹果在文件中提到,在包裹式触控屏的任何一个部位,都能够现实图标等视觉信息,除了传统的正面屏幕之外,苹果认为能够在侧边等位置提供用户操控界面。(来源:腾讯科技)

今日头条修改新闻标题,推送刻意针对腾讯的负面新闻

